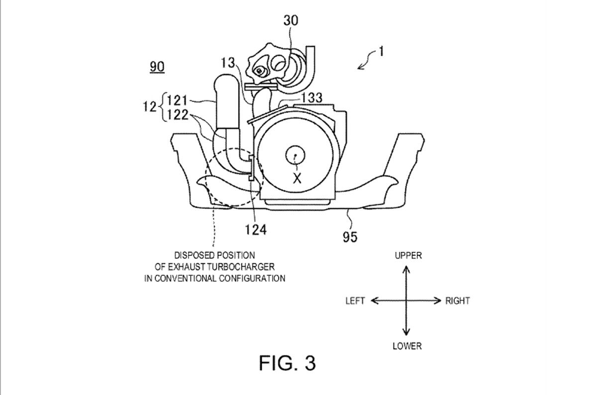
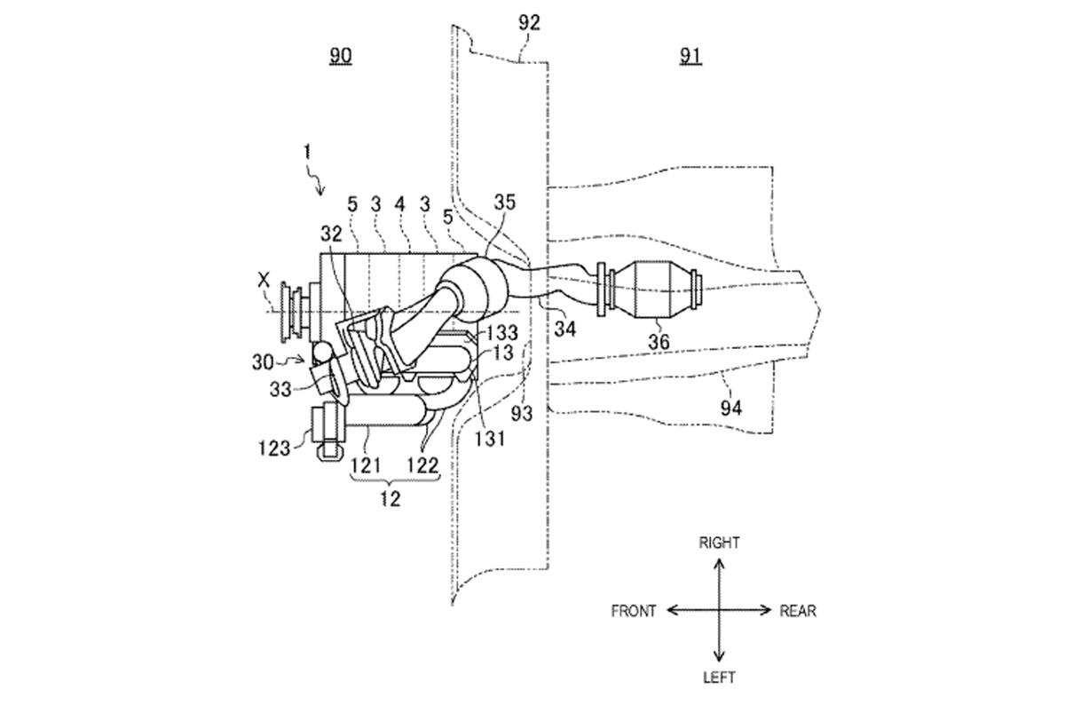
Patent images have surfaced which suggest that Mazda is preparing a new turbocharged rotary engine for production.
The images show a revised intake and exhaust layout on a Wankel engine, in a patent document titled ‘Rotary piston engine mounted on vehicle’.
Although this doesn’t confirm a rotary-engined model for production, Mazda’s recent rotary-powered concepts and its evident research and development on future Wankel powertrains suggest the firm's relationship with the rotary engine is not over.
Mazda’s RX-Vision concept from the 2015 Tokyo motor show is further proof of this; that car featured a Skyactiv-R-badged rotary engine. Speaking to Autocar, Mazda R&D boss Kiyoshi Fujiwara confirmed several possibilities were under consideration for the Wankel engine’s return, including a hybrid powertrain and a turbocharged option.
The turbocharged route was considered less likely at the time, given is complexity, but the patents suggest that this is now the most likely option, when taking into consideration Mazda’s reticence to adopt hybrid engines.
The RX-Vision could make production in 2017, which would mark the 50th anniversary of Mazda’s first rotary-powered car, or 2018, which would be 40 years since the original RX-7 was launched. A Mazda spokesperson explained that a business case will need to be made for the car, in addition to a solution to the challenges posed by the notoriously difficult engine, such as its emissions, infamous thirst for oil and fuel economy.
The patents appear to have been removed, suggesting a level of secrecy around the development of the new powerplant, but they recently resurfaced on a Autoevolution, who posted the patent documents in full.

Add your comment